China3D printingNet July 5th,3D bioprintingMachine manufacturer CELLINK has successfully applied for a patent for a new robotic system that uses bioprinting to provide automated aesthetic medical procedures.
The company’s patent is only applicable to its native Sweden, covering the patient’s3D scanningUpload to an autonomous system that uses this data to perform cosmetic filling procedures with bio-printed armed robots.
In view of its invention may provide patients with faster and more accurate plastic surgery, CELLINK said that through further adjustments, it can find forward-developing commercial applications.
CELLINK’s CTO Dr. Héctor Martínez said: “This invention demonstrates our innovative R&D capabilities and passion for improving patient outcomes, whether it is cosmetic surgery or reconstructive surgery. This patent granted may provide a business opportunity for the CELLINK Group.
We foresee that this robot system can achieve personalized aesthetic effects in the most cutting-edge way, and we will continue to explore it. “

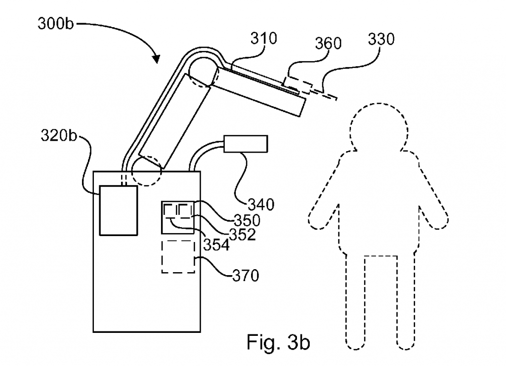
CELLINK’s patented 3D bioprinting system is designed to provide patients with customized plastic surgery. Picture from CELLINK.
CELLINK’s “biological fusion” drive
Since commercializing its first universal bio-ink in 2016, CELLINK has become one of the world’s leading bioprinting companies. In addition to a combination of materials and services for multi-omics, cell line development, and diagnostic applications, the company now sells six 3D bioprinters, including SLA-based Holograph X and six printhead BIO X6.
In order to continue to maintain its growth trajectory, CELLINK has adopted a “biological fusion” approach in recent years, trying to take advantage of the potential synergy between biological agents and advanced technology. To a large extent, the company achieves this goal by acquiring those developing clinical methods that may be compatible with itself.
Just last year, CELLINK acquired Scienion for 80 million euros, which allowed it to establish its precise allocation capabilities and better enter the diagnostic field. It was followed by the company’s acquisition of MatTek Corporation, an in vitro technology expert, for US$68 million, which was able to help develop cruelty-free disease test models.
The company also acquired two-photon polymerization (2PP) through the decision to acquire Nanoscribe for 50 million euros. This agreement effectively provides CELLINK with miniaturization capabilities, which may enable it to create vascularized structures on a subcellular scale. Therefore, it is very similar to its patented robotic system. The company’s acquisition supports its “power of biological fusion”. Proposition.

A scientist is using MatTek’s in vitro cell technology to conduct experiments.The photo is from MatTek.
CELLINK’s patent “SE 543714” was granted by the Swedish Patent and Registration Office and is its first patent in the field of personalized or automated aesthetic medical procedures. As far as we know, the company’s system is actually the result of its comprehensive knowledge of 3D bioprinting, biomaterials, robotics, automation, and artificial intelligence, and attempts to optimize the injection of cosmetics and surgical fillers.
In particular, CELLINK sees its invention as an opportunity to provide automated, digital and personalized facial surgery. The system uses AI-driven algorithms to compare the scan results entered by patients with their desired aesthetic characteristics and develop a distribution plan to inject the optimal amount of filler into each area of their face.
According to CELLINK, compared with manual surgery, the novelty of its system lies in its “creative steps and industrial applicability”, and its automated nature helps reduce any chance of dispensing complications.
The company has been developing its surgical solutions since it first started the patent application process on March 26, 2018. CELLINK’s CEO and CTO Erik Gatenholm and Héctor Martínez are listed as the inventors of the system, and the wording of the patent also confirms its intended application, referring to “filling one or more wrinkles” based on 3D scanning.
Looking to the future, CELLINK stated that the approval of the patent “enhanced its intellectual property protection” and “complemented its complete solution portfolio”. Although it currently only applies to Sweden, the company intends to extend this protection to the United States and “Other important markets.”
Scan-based facial surgery
The system proposed by CELLINK is essentially based on 3D scanning, and this technology has applications in everything from digital recognition to facial surgery. Working at the Royal Free Hospital, a team from Imperial College London has previously deployed 3D scanning to create a 6,000-strong database with the goal of powering medicine and facial recognition technology.
Since 2015, MirrorMe3D has also used scanning and modeling technology to allow patients to “try plastic surgery” before buying. Using 3D modeling, the company’s customers are able to simulate their ideal appearance and order 3D prints to ensure they are satisfied, and then arrange consultations and surgery to perform the surgery with greater confidence.
Recently, doctors are increasingly using 3D printed customized guides to optimize the results of facial surgery, such as the VSP Hybrid Maxillofacial device launched by 3D Systems in April 2021. This clinical tool allows for occlusal registration, provides surgeons with enhanced site visibility, and enables them to operate with precision and confidence.
(Editor in charge: admin)

0 Comments for “CELLINK uses patented biological 3D printing robots to provide customized facelift services”