Although we mostly think3D printingWith broad prospects in the field of new energy vehicles, it seems to be3D printingThere are not many integration points with traditional automobiles, but in terms of internal combustion engines, automobile factories are also actively trying.Recently, General Motors passed3D printingA lightweight connecting rod with customized stiffness was developed.
Source: US10487868B2
Optimization of strength and rigidity, more lightweight
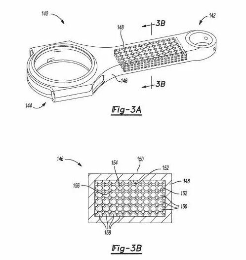
The lightweight connecting rod developed by General Motors includes a first end, a second end and an arm. The first end is a configuration pivotally connected to the piston, and the second end is a configuration pivotally connected to the crankshaft. The arm extends between the first end and the second end. The inner area of the connecting rod includes a lightweight space filled by a dot matrix.
Source: US10487868B2
In terms of material, the arm can be made of aluminum alloy, titanium alloy and a combination of metal materials. Compared with the use of steel, the use of titanium or aluminum can reduce the mass by 30%, and metal matrix composite materials or non-metallic materials, such as carbon fiber composite materials, can also be used. The connecting rod is used in an internal combustion engine to convert the reciprocating motion of the piston into a rotary motion. When the piston moves down the power stroke, the connecting rod acts on the crankshaft to rotate it. When the vehicle is running, the end of the crankshaft is connected to the transmission, so reducing the weight of key components of the vehicle is important for improving fuel economy. In addition to being lightweight, the connecting rod must also exhibit mechanical characteristics of high strength and rigidity. In short, the connecting rod should be designed to be strong and as light as possible.
Additive manufacturing can realize complex structures, including the lattice structure inside the connecting rod. At the edge of the lightweight link, the sides of the arm meet at a substantially right angle, and the edge can be rounded. The rounded edges are particularly advantageous in reducing the resistance of the connecting rod because the connecting rod reciprocates at a great speed in the internal combustion engine. The rounded edges are particularly advantageous in reducing stress concentration at the corners and improving fatigue life.
Additive manufacturing is particularly suitable for forming complex geometries,3D printingThe connecting rod can have a highly complex internal structure and a free-form surface shape. In terms of geometry, the curvature, internal lattice structure, and channel cross-section geometry can be continuously changed. In addition, throughout the connecting rod, characteristics such as density (void), weight, strength, stiffness, deflection, and material composition can be changed. The advantage of connecting rods combined with dot matrix structure design is that, compared with solid connecting rods, they can be designed as parts with high strength and high rigidity while having lighter weight. The connecting rod formed by additive manufacturing can be an integrally formed single-piece integrated structure. The additive manufacturing process can highly control the local stiffness and deflection of the connecting rod. By optimizing the lattice lattice structure design, the strength and rigidity of the connecting rod can be improved.
Lightweight design of connecting rod and3D printingThe combination of technology is a development direction worthy of attention in the industry. As far as the materials mentioned in the article are concerned, based on the market observation of 3D Science Valley, the effect of processing titanium alloy Ti6Al4V materials with powder bed selective metal melting technology combined with HIP hot isostatic pressing post-processing method is very good.Carbon fiber composite materials are mentioned in the article. Although the prototypes of carbon fiber composite materials are very good, and they are very strong in XY, it is necessary to consider whether the material is completely dense and completely isotropic. It is currently based on extrusion.3D printingThe system is difficult to achieve this. There are some laminate processes that can imitate conventional carbon fiber prepregs for ply manufacturing, but they are not isotropic.Although plastics mixed with chopped carbon fiber materials include PEEK or Ultem to achieve3D printingIt is not impossible, but there are still many challenges.
(Editor in charge: admin)



0 Comments for “GM develops lightweight connecting rods with customized stiffness through 3D printing”